适用范围
> 广泛应用于石油开采、炼油、化工、军工等危险环境场所作为电线、电缆管路连接弯曲之用。
> 适用于爆炸性气体环境 1 区、2 区场所。
> 适用于可燃性粉尘环境 20 区、21 区、22 区场所。
> 适用于ⅡA、ⅡB、ⅡC 类爆炸性气体环境。
型号含义
主要技术参数
|
猫咪下载视频标志
|
Ex e ⅡC Gb/Ex tD A21 IP65
|
|
防护等级
|
IP65
|
|
结构形式
|
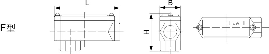
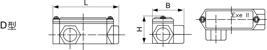
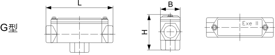
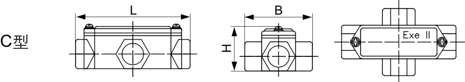
A、B、C、D、E、F、G、H
|
|
执行标准
|
GB12476.1、GB12476.5、GB3836.1、GB3836.3
|
产品特点
* 铸铝合金或铸钢外壳,表面高压静电喷塑。
* 外壳材质有铝合金和铸钢两种形式。
* 结构形式多样,便于安装。
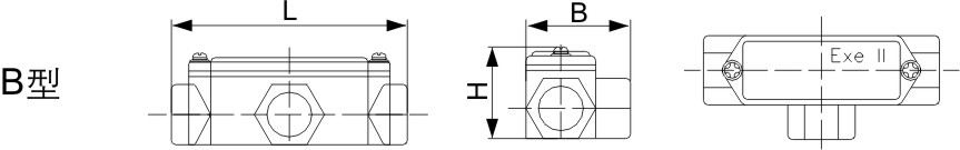
外形安装尺寸
|
|
进线口螺纹
|
管子内径
|
铸铝型号
|
外形尺寸
|
|
L
|
B
|
H
|
|
G1/2
|
15
|
BCH-A1/2□
|
105
|
31
|
41
|
|
G3/4
|
20
|
BCH-A3/4□
|
125
|
37
|
46
|
|
G1
|
25
|
BCH-A1□
|
139
|
46
|
54
|
|
G1 1/4
|
32
|
BCH-A1 1/4□
|
182
|
54
|
65
|
|
G1 1/2
|
40
|
BCH-A1 1/2□
|
176
|
60
|
71
|
|
G2
|
50
|
BCH-A2□
|
204
|
72
|
83
|
|
G2 1/2
|
70
|
BCH-A2 1/2□
|
246
|
86
|
104
|
|
G3
|
80
|
BCH-A3□
|
282
|
102
|
120
|
|
G4
|
100
|
BCH-A4□
|
300
|
120
|
135
|
|
|
进线口螺纹
|
管子内径
|
铸铝型号
|
外形尺寸
|
|
L
|
B
|
H
|
|
G1/2
|
15
|
BCH-B1/2□
|
105
|
47
|
41
|
|
G3/4
|
20
|
BCH-B3/4□
|
125
|
52
|
46
|
|
G1
|
25
|
BCH-B1□
|
139
|
62
|
54
|
|
G1 1/4
|
32
|
BCH-B1 1/4□
|
182
|
71
|
65
|
|
G1 1/2
|
40
|
BCH-B1 1/2□
|
176
|
80
|
71
|
|
G2
|
50
|
BCH-B2□
|
204
|
94
|
83
|
|
G2 1/2
|
70
|
BCH-B2 1/2□
|
246
|
121
|
104
|
|
G3
|
80
|
BCH-B3□
|
282
|
137
|
120
|
|
G4
|
100
|
BCH-B4□
|
300
|
145
|
135
|
|
|
|
进线口螺纹
|
管子内径
|
铸铝型号
|
外形尺寸
|
|
L
|
B
|
H
|
|
G1/2
|
15
|
BCH-C1/2□
|
105
|
62
|
41
|
|
G3/4
|
20
|
BCH-C3/4□
|
125
|
66
|
46
|
|
G1
|
25
|
BCH-C1□
|
139
|
79
|
54
|
|
G1 1/4
|
32
|
BCH-C1 1/4□
|
182
|
88
|
65
|
|
G1 1/2
|
40
|
BCH-C1 1/2□
|
176
|
100
|
71
|
|
G2
|
50
|
BCH-C2□
|
204
|
115
|
83
|
|
G2 1/2
|
70
|
BCH-C2 1/2□
|
246
|
156
|
104
|
|
G3
|
80
|
BCH-C3□
|
282
|
172
|
120
|
|
G4
|
100
|
BCH-C4□
|
300
|
180
|
135
|
|
|
进线口螺纹
|
管子内径
|
铸铝型号
|
外形尺寸
|
|
L
|
B
|
H
|
|
G1/2
|
15
|
BCH-D1/2□
|
98
|
47
|
41
|
|
G3/4
|
20
|
BCH-D3/4□
|
117
|
52
|
46
|
|
G1
|
25
|
BCH-D1□
|
129
|
62
|
54
|
|
G1 1/4
|
32
|
BCH-D1 1/4□
|
129
|
63
|
65
|
|
G1 1/2
|
40
|
BCH-D1 1/2□
|
166
|
80
|
71
|
|
G2
|
50
|
BCH-D2□
|
194
|
91
|
83
|
|
G2 1/2
|
70
|
BCH-D2 1/2□
|
211
|
121
|
104
|
|
G3
|
80
|
BCH-D3□
|
247
|
137
|
120
|
|
G4
|
100
|
BCH-D4□
|
275
|
145
|
135
|
|
|
|
进线口螺纹
|
管子内径
|
铸铝型号
|
外形尺寸
|
|
L
|
B
|
H
|
|
G1/2
|
15
|
BCH-E1/2□
|
98
|
47
|
41
|
|
G3/4
|
20
|
BCH-E3/4□
|
117
|
52
|
46
|
|
G1
|
25
|
BCH-E1□
|
129
|
62
|
54
|
|
G1 1/4
|
32
|
BCH-E1 1/4□
|
129
|
63
|
65
|
|
G1 1/2
|
40
|
BCH-E1 1/2□
|
166
|
80
|
71
|
|
G2
|
50
|
BCH-E2□
|
194
|
90
|
83
|
|
G2 1/2
|
70
|
BCH-E2 1/2□
|
211
|
121
|
104
|
|
G3
|
80
|
BCH-E3□
|
247
|
137
|
120
|
|
G4
|
100
|
BCH-E4□
|
275
|
145
|
135
|
|
|
进线口螺纹
|
管子内径
|
铸铝型号
|
外形尺寸
|
|
L
|
B
|
H
|
|
G1/2
|
15
|
BCH-F1/2□
|
98
|
31
|
57
|
|
G3/4
|
20
|
BCH-F3/4□
|
117
|
37
|
64
|
|
G1
|
25
|
BCH-F1□
|
130
|
46
|
71
|
|
G1 1/4
|
32
|
BCH-F1 1/4□
|
163
|
54
|
81
|
|
G1 1/2
|
40
|
BCH-F1 1/2□
|
166
|
60
|
91
|
|
G2
|
50
|
BCH-F2□
|
194
|
72
|
105
|
|
G2 1/2
|
70
|
BCH-F2 1/2□
|
211
|
86
|
139
|
|
G3
|
80
|
BCH-F3□
|
247
|
102
|
155
|
|
G4
|
100
|
BCH-F4□
|
275
|
120
|
160
|
|
|
|
进线口螺纹
|
管子内径
|
铸铝型号
|
外形尺寸
|
|
L
|
B
|
H
|
|
G1/2
|
15
|
BCH-G1/2□
|
105
|
31
|
57
|
|
G3/4
|
20
|
BCH-G3/4□
|
125
|
37
|
64
|
|
G1
|
25
|
BCH-G1□
|
139
|
46
|
71
|
|
G1 1/4
|
32
|
BCH-G1 1/4□
|
170
|
54
|
81
|
|
G1 1/2
|
40
|
BCH-G1 1/2□
|
176
|
60
|
91
|
|
G2
|
50
|
BCH-G2□
|
204
|
72
|
105
|
|
G2 1/2
|
70
|
BCH-G2 1/2□
|
246
|
86
|
139
|
|
G3
|
80
|
BCH-G3□
|
282
|
102
|
155
|
|
G4
|
100
|
BCH-G4□
|
300
|
120
|
160
|
|
|
进线口螺纹
|
管子内径
|
铸铝型号
|
外形尺寸
|
|
L
|
B
|
H
|
|
G1/2
|
15
|
BCH-H1/2□
|
69
|
27
|
43
|
|
G3/4
|
20
|
BCH-H3/4□
|
81
|
33
|
48
|
|
G1
|
25
|
BCH-H1□
|
100
|
40
|
60
|
|
G1 1/4
|
32
|
BCH-H1 1/4□
|
120
|
49
|
84
|
|
G1 1/2
|
40
|
BCH-H1 1/2□
|
130
|
57
|
71
|
|
G2
|
50
|
BCH-H2□
|
168
|
70
|
83
|
|
G2 1/2
|
70
|
BCH-H2 1/2□
|
246
|
86
|
104
|
|
G3
|
80
|
BCH-H3□
|
282
|
102
|
120
|
|
G4
|
100
|
BCH-H4□
|
300
|
102
|
135
|
|
订货须知
> 按照产品型号逐条选择并注明猫咪下载视频标志及结构形式、螺纹规格等参数,例如:需要增安型铸钢 G1″A 型穿线盒,则产品型号为 BCH-AG1″T ExeⅡC Gb/Ex tD A21。
> 常规供货为铝合金材质,要求铸钢材质时请注明。